LINEALES
  CIRCUITOS     DSTAR     CONTROLES DE TONO     MICROS     PROYECTOS     ESQUEMAS     RADIOS ANTIGUAS EA3OM     100 AÑOS DE RADIOAFICION     EA4HH     FOTOGRAFIAS     ENLACES     GESTION  
MI NUEVO LINEAL
LINEAL HF CASERO
LINEAL LAMPARA 813
TREMENDUS
ZETAGI BV131
AMERITRON AL-811H
K707
HARRIS
LAMPARAS
CHOQUE ALTA TENSION
LINEAL CON 3CX1500
FUENTE ALIMENTACION AT
MEDIDOR DE POTENCIA
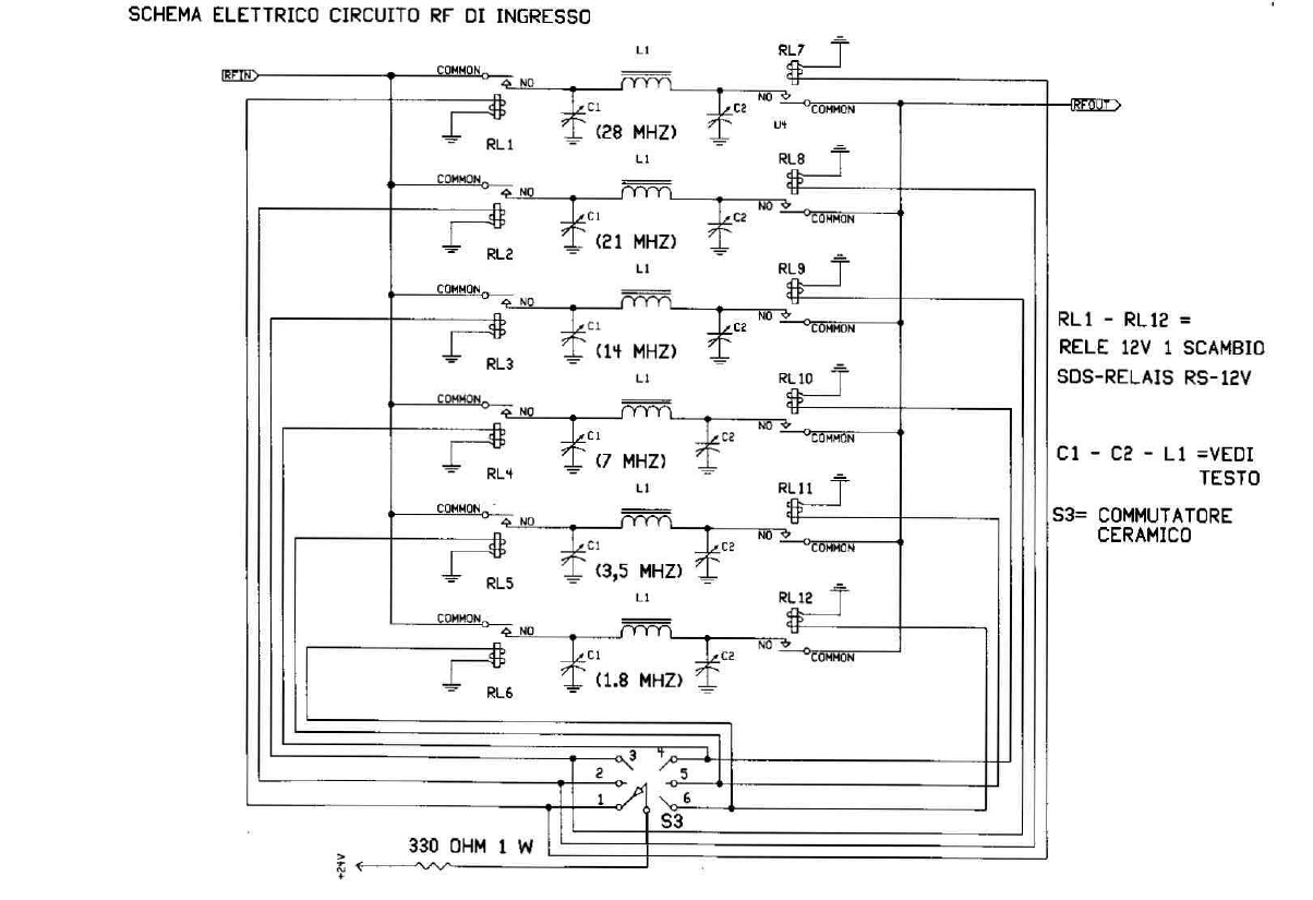
PI DE ENTRADA
PI DE SALIDA
LINEAL DE GRANJA
General:
Inicio

PI DE ENTRADA










Versión imprimible